三菱变频器的结构及控制电路概述
三菱变频器的结构及控制电路概述
三菱变频器是将固定频率的交流电变换为频率连续可调的交流电的装置。变频器技术随着微电子技术、电力电子技术、计算机技术和自动控制技术等的不断发展而发展,其应用越来越普及。
一、变频器的结构
通用变频器由主电路和控制电路组成,其基本结构如下图所示。主电路包括整流器、中间直流环节和逆变器。控制电路由运算电路、检测电路、控制信号的输人/输出电路和驱动电路组成。

1)、电力二极管(PD):指可以承受高电压、大电流,具有较大耗散功率的二极管。电力二极管的内部结构是一个PN结,加正向电压导通,加反向电压截止,是不可控的单向导通器件。电力二极骨与普通二极管的结构、工作原理和伏安特性相似,但它们的主要参数和选择原则不尽相同。电力二极管的图形符号如图1-4所示,其中,A为阳极,K为阴极,其伏安特性如图1-4c所示,其主要参数有正向平均电流If、反向重复峰值电压Urrm、反向不重复峰值电压Ursm,和正向平均电压Uf等。

2)、普通晶闸管(SCR):普通晶闸管是双极型电流控制器件,其图形符号如图1-5a所示,其中,A为阳极,K为阴极,G为门极,其伏安特性如图1-5b所示。当对晶闸管的阳极和阴极两端加正向电压,同时在它的门极和阴极两端也适当加正向电压时,晶闸管导通。但导通后门极失去控制作用,不能用门极控制晶闸管关断,所以它是半控型器件。它的主要参数有断态重复峰值电压Udrm、反向重复峰值电压Urrm、通态平均电压Ut(av)、通态平均电流It(av)、维持电流Ih、擎住电流Il和通态浪涌电流Itsm等。

(2)、滤波电路 波电路通常由若干个电解电容并联成一组,如图1-3中的C1和C2。为了解决电容C1和C2的均压问题,在两电容旁各并联一个阻值相等的均压电阻R1和R2。
在图1-3中,串联在整流桥和滤波电容之间的限流电阻R8和短路开关(虚线所画开关)组成了限流电路。当变频器接人电源的瞬间,将有一个很大的冲击电流经整流桥流向滤波电容,整流桥可能因电流过大而在接人电源的瞬间受到损坏,限流电阻R8可以削弱该冲击电流,起到保护整流桥的作用。在许多新的变频器中R8已由晶闸管替代。
(3)、直流中间电路由整流电路可以将电网的交流电源整流成直流电压或直流电流,但这种电压或电流含有电压或电流纹波,会影响直流电压或电流的质量。为了减小这种电压或电流的波动,需要加电容器或电感器作为直流中间环节。
对电压型变频器来说,直流中间电路通过大容量的电容对输出电流进行滤波。
对电流型变频器来说,直流中间电路通过电感对输出电流进行滤波。
(4)、逆变电路逆变电路是变频器最主要的部分之一,它的功能是,在控制电路的控制下将直流中间电路输出的直流电压转换为电压、频率均可调的交流电压,实现对异步电动机的变频调速控制。变频器中应用最多的是三相桥式逆变电路,它是由电力晶体管(GTR)组成的三相桥式逆变电路,该电路主要是对开关器件进行控制。目前,常用的开关器件有门极关断(GTO)晶闸管、电力晶体管(GTR或BJT )、功率场效应晶体管(P-MOSFET)以及绝缘栅双极型晶体管(IGBT)等,在实际应用时要查阅相关使用手册。
1)、门极关断(GTO)晶闸管的导通控制与晶闸管一样,但是在它的门极加负电压可使其关断,具有自关断能力,属于全控型器件,其中,A人为阳极,K为阴极,G为门极。它的外形与普通晶闸管一样,其开关特性示意图请参考相关资料。
2)、电力晶体管通常又称为双极型晶体管,是一种大功率高反压晶体管,属于全控型器件。它的工作原理与普通中、小功率晶体管相似,但它主要工作在开关状态,不用于信号的放大,它所承受的电压和电流数值大。GTR作为大功率开关应用最多的是GTR模块,B为基极、C为集电极、E为发射极。主要参数有反向击穿电压U ceo ,最大工作电流I cm集电极最大耗散功率P cm、导通时间t on和关断时间t off等。
3)、电力MOS场效应晶体管(P-MOSFET)是单极型全控器件,属于电压控制。具有驱动功率小、控制线路简单、工作频率高的特点。
4)、绝缘栅双极型晶体管(IGBT)是复合型全控器件,具有输人阻抗高、工作速度快、通态电压低、阻断电压高、承受电流大等优点,是功率开关电源和逆变器的理想电力半导体器件。IGBT模块的外形、结构和图形符号如图1-13所示.其中,G为栅极,C为集电极,E为发射极。IGBT的导通和关断是由栅极电压来控制的。当栅极加正电压时,P-MOSFET内形成沟道,IGBT导通;当栅极加负电压时,P-MOSFET内的沟道消失,EGBT关断。IGBT的输出特性可分为三个区域:正向阻断区、有源区和饱和区。IGBT的主要参数有集电极-发射极击穿电压U ges、集电极额定最大直流I c、集电极-发射极间的饱和压降U ce(sat)和开关频率f on等。
在中小容量的变频器中多采用PWM开关方式的逆变电路,换流器件为大功率晶体骨(GTR)、绝缘栅双极晶体管(IGBT)或功率场效应晶体管(P-MOSFET)。随着门极关断(GTO)晶闸管的容盆和可靠性的提高,在中大容量的变频器中采用PWM开关方式的GTO晶闸管逆变电路逐渐成为主流。
在图1-3所示的电路中,由开关管器件VT1~VT6构成的电路称为逆变桥,由VD7~VD12构成续流电路。
续流电路的作用如下:
①为电动机绕组的无功电流返回直流电路提供通路。
②当频率下降使同步转速下降时。为电动机的再生电能回馈至直流电路提供通路。
③为电路的寄生电感在逆变过程中释放能量提供通路。
(5)能耗制动电路在变频调速中,电动机的降速和停机是通过减小变频器的输出频率,从而降低电动机的同步转速的方法来实现的。当电动机减速时,在频率刚减小的瞬间,电动机的同步转速随之降低,由于机械惯性,电动机转子转速未变,使同步转速低子电动机的实际转速,电动机处于发电制动运行状态,负载机械和电动机所具有的机械能蟹被回馈给电动机.并在电动机中产生制动转矩,使电动机的转速迅速下降。
电动机再生的电能经过图1-3中的续流二极管VD7~VD12全波整流后,反馈到直流电路。由于直流电路的电能无法回饮给电网,在C1和C2上将产生短时间的电荷堆积,形成“泵生电压”,使直流电压升高。当直流电压过高时,可能损坏换流器件。变频器的检测单元检测到直流问路电压U8超过规定值时,控制功率管VT8导通,接通能耗制动电路,使直流回路通过RB电限释放电能。
2、变频器控制电路
为变频器的主电路提供通断控制信号的电路称为控制电路,其主要任务是完成对逆变器开关器件的开关控制和提供多种保护功能。控制电路的控制方式有模拟控制和数字控制两种。目前已广泛采用了以微处理器为核心的全数字控制技术,主要靠软件完成各种控制功能,以充分发挥微处理器计算能力强和软件控制灵活性高的特点,完成许多模拟控制方式难以实现的功能。控制电路主要由以下几部分组成。
(1)、运算电路运算电路的主要作用是将外部的速度、转矩等指令信号同检测电路的电流、电压信号进行比较运算,决定变频器的输出频率和电压。
(2)、信号检测电路将变频器和电动机的工作状态反馈至微处理器,并由微处理器按事先确定的算法进行处理后为各部分电路提供所需的控制或保护信号。
(3)、驱动电路驱动电路的作用是为变频器中逆变电路的换流器件提供驱动信号。当逆变电路的换流器件为晶体管时,称为基极驱动电路;当逆变电路的换流器件为SCR,IGBT或GTO晶闸管时,称为门极驱动电路。
(4)、保护电路保护电路的主要作用是对检测电路得到的各种信号进行运算处理,以判断变频器本身或系统是否出现异常。当检测到异常时,就进行各种必要的处理,如使变频器停止工作或抑制电压、电流值等。
三菱变频器是将固定频率的交流电变换为频率连续可调的交流电的装置。变频器技术随着微电子技术、电力电子技术、计算机技术和自动控制技术等的不断发展而发展,其应用越来越普及。
一、变频器的结构
通用变频器由主电路和控制电路组成,其基本结构如下图所示。主电路包括整流器、中间直流环节和逆变器。控制电路由运算电路、检测电路、控制信号的输人/输出电路和驱动电路组成。

图1-2 通用变频器的基本结构
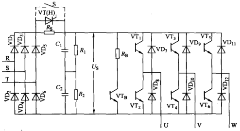
1、主电路(1)、整流电路整流电路的主要作用是把三相(或单相)交流电转变成直流电,为逆变电路提供所需的直流电源。按使用的器件不同,整流电路可分为不可控整流电路和可控整流电路,如图所示。

图1-3 交-直-交电压型变频器主电路
不可控整流电路使用的器件为电力二极管(PD),可控整流电路使用的器件通常为普通晶闸管(SCR)1)、电力二极管(PD):指可以承受高电压、大电流,具有较大耗散功率的二极管。电力二极管的内部结构是一个PN结,加正向电压导通,加反向电压截止,是不可控的单向导通器件。电力二极骨与普通二极管的结构、工作原理和伏安特性相似,但它们的主要参数和选择原则不尽相同。电力二极管的图形符号如图1-4所示,其中,A为阳极,K为阴极,其伏安特性如图1-4c所示,其主要参数有正向平均电流If、反向重复峰值电压Urrm、反向不重复峰值电压Ursm,和正向平均电压Uf等。

2)、普通晶闸管(SCR):普通晶闸管是双极型电流控制器件,其图形符号如图1-5a所示,其中,A为阳极,K为阴极,G为门极,其伏安特性如图1-5b所示。当对晶闸管的阳极和阴极两端加正向电压,同时在它的门极和阴极两端也适当加正向电压时,晶闸管导通。但导通后门极失去控制作用,不能用门极控制晶闸管关断,所以它是半控型器件。它的主要参数有断态重复峰值电压Udrm、反向重复峰值电压Urrm、通态平均电压Ut(av)、通态平均电流It(av)、维持电流Ih、擎住电流Il和通态浪涌电流Itsm等。

(2)、滤波电路 波电路通常由若干个电解电容并联成一组,如图1-3中的C1和C2。为了解决电容C1和C2的均压问题,在两电容旁各并联一个阻值相等的均压电阻R1和R2。
在图1-3中,串联在整流桥和滤波电容之间的限流电阻R8和短路开关(虚线所画开关)组成了限流电路。当变频器接人电源的瞬间,将有一个很大的冲击电流经整流桥流向滤波电容,整流桥可能因电流过大而在接人电源的瞬间受到损坏,限流电阻R8可以削弱该冲击电流,起到保护整流桥的作用。在许多新的变频器中R8已由晶闸管替代。
(3)、直流中间电路由整流电路可以将电网的交流电源整流成直流电压或直流电流,但这种电压或电流含有电压或电流纹波,会影响直流电压或电流的质量。为了减小这种电压或电流的波动,需要加电容器或电感器作为直流中间环节。
对电压型变频器来说,直流中间电路通过大容量的电容对输出电流进行滤波。
对电流型变频器来说,直流中间电路通过电感对输出电流进行滤波。
(4)、逆变电路逆变电路是变频器最主要的部分之一,它的功能是,在控制电路的控制下将直流中间电路输出的直流电压转换为电压、频率均可调的交流电压,实现对异步电动机的变频调速控制。变频器中应用最多的是三相桥式逆变电路,它是由电力晶体管(GTR)组成的三相桥式逆变电路,该电路主要是对开关器件进行控制。目前,常用的开关器件有门极关断(GTO)晶闸管、电力晶体管(GTR或BJT )、功率场效应晶体管(P-MOSFET)以及绝缘栅双极型晶体管(IGBT)等,在实际应用时要查阅相关使用手册。
1)、门极关断(GTO)晶闸管的导通控制与晶闸管一样,但是在它的门极加负电压可使其关断,具有自关断能力,属于全控型器件,其中,A人为阳极,K为阴极,G为门极。它的外形与普通晶闸管一样,其开关特性示意图请参考相关资料。
2)、电力晶体管通常又称为双极型晶体管,是一种大功率高反压晶体管,属于全控型器件。它的工作原理与普通中、小功率晶体管相似,但它主要工作在开关状态,不用于信号的放大,它所承受的电压和电流数值大。GTR作为大功率开关应用最多的是GTR模块,B为基极、C为集电极、E为发射极。主要参数有反向击穿电压U ceo ,最大工作电流I cm集电极最大耗散功率P cm、导通时间t on和关断时间t off等。
3)、电力MOS场效应晶体管(P-MOSFET)是单极型全控器件,属于电压控制。具有驱动功率小、控制线路简单、工作频率高的特点。
4)、绝缘栅双极型晶体管(IGBT)是复合型全控器件,具有输人阻抗高、工作速度快、通态电压低、阻断电压高、承受电流大等优点,是功率开关电源和逆变器的理想电力半导体器件。IGBT模块的外形、结构和图形符号如图1-13所示.其中,G为栅极,C为集电极,E为发射极。IGBT的导通和关断是由栅极电压来控制的。当栅极加正电压时,P-MOSFET内形成沟道,IGBT导通;当栅极加负电压时,P-MOSFET内的沟道消失,EGBT关断。IGBT的输出特性可分为三个区域:正向阻断区、有源区和饱和区。IGBT的主要参数有集电极-发射极击穿电压U ges、集电极额定最大直流I c、集电极-发射极间的饱和压降U ce(sat)和开关频率f on等。
在中小容量的变频器中多采用PWM开关方式的逆变电路,换流器件为大功率晶体骨(GTR)、绝缘栅双极晶体管(IGBT)或功率场效应晶体管(P-MOSFET)。随着门极关断(GTO)晶闸管的容盆和可靠性的提高,在中大容量的变频器中采用PWM开关方式的GTO晶闸管逆变电路逐渐成为主流。
在图1-3所示的电路中,由开关管器件VT1~VT6构成的电路称为逆变桥,由VD7~VD12构成续流电路。
续流电路的作用如下:
①为电动机绕组的无功电流返回直流电路提供通路。
②当频率下降使同步转速下降时。为电动机的再生电能回馈至直流电路提供通路。
③为电路的寄生电感在逆变过程中释放能量提供通路。
(5)能耗制动电路在变频调速中,电动机的降速和停机是通过减小变频器的输出频率,从而降低电动机的同步转速的方法来实现的。当电动机减速时,在频率刚减小的瞬间,电动机的同步转速随之降低,由于机械惯性,电动机转子转速未变,使同步转速低子电动机的实际转速,电动机处于发电制动运行状态,负载机械和电动机所具有的机械能蟹被回馈给电动机.并在电动机中产生制动转矩,使电动机的转速迅速下降。
电动机再生的电能经过图1-3中的续流二极管VD7~VD12全波整流后,反馈到直流电路。由于直流电路的电能无法回饮给电网,在C1和C2上将产生短时间的电荷堆积,形成“泵生电压”,使直流电压升高。当直流电压过高时,可能损坏换流器件。变频器的检测单元检测到直流问路电压U8超过规定值时,控制功率管VT8导通,接通能耗制动电路,使直流回路通过RB电限释放电能。
2、变频器控制电路
为变频器的主电路提供通断控制信号的电路称为控制电路,其主要任务是完成对逆变器开关器件的开关控制和提供多种保护功能。控制电路的控制方式有模拟控制和数字控制两种。目前已广泛采用了以微处理器为核心的全数字控制技术,主要靠软件完成各种控制功能,以充分发挥微处理器计算能力强和软件控制灵活性高的特点,完成许多模拟控制方式难以实现的功能。控制电路主要由以下几部分组成。
(1)、运算电路运算电路的主要作用是将外部的速度、转矩等指令信号同检测电路的电流、电压信号进行比较运算,决定变频器的输出频率和电压。
(2)、信号检测电路将变频器和电动机的工作状态反馈至微处理器,并由微处理器按事先确定的算法进行处理后为各部分电路提供所需的控制或保护信号。
(3)、驱动电路驱动电路的作用是为变频器中逆变电路的换流器件提供驱动信号。当逆变电路的换流器件为晶体管时,称为基极驱动电路;当逆变电路的换流器件为SCR,IGBT或GTO晶闸管时,称为门极驱动电路。
(4)、保护电路保护电路的主要作用是对检测电路得到的各种信号进行运算处理,以判断变频器本身或系统是否出现异常。当检测到异常时,就进行各种必要的处理,如使变频器停止工作或抑制电压、电流值等。
- 下一篇:RD81OPC96三菱OPC UA服务器模块的功能|特点
- 上一篇:


您的位置: